1
/
of
6
AT39457 New Spindle Fits John Deere Tractor 300 400 1520 2030
AT39457 New Spindle Fits John Deere Tractor 300 400 1520 2030
No reviews
Regular price
$1,063.00 CAD
Regular price
Sale price
$1,063.00 CAD
Unit price
/
per
Shipping calculated at checkout.
Couldn't load pickup availability
One New Aftermarket Replacement Spindle that Fits John Deere Tractor Models 1520 (W/ Fixed Front Axle), 2030 (SN <187300 W/ Fixed Front Axle).
Also Fits John Deere Industrial / Construction Models 300 (SN <136911 W/ Fixed Front Axle), 400 (SN <136911 W/ Fixed Front Axle).
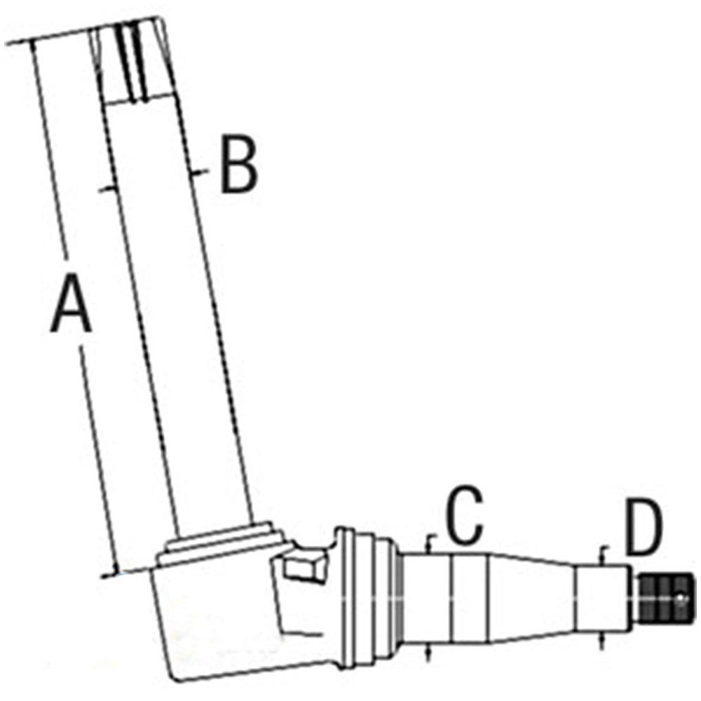
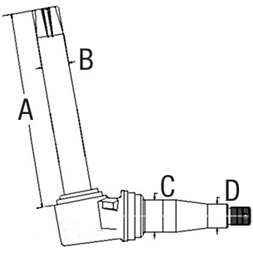
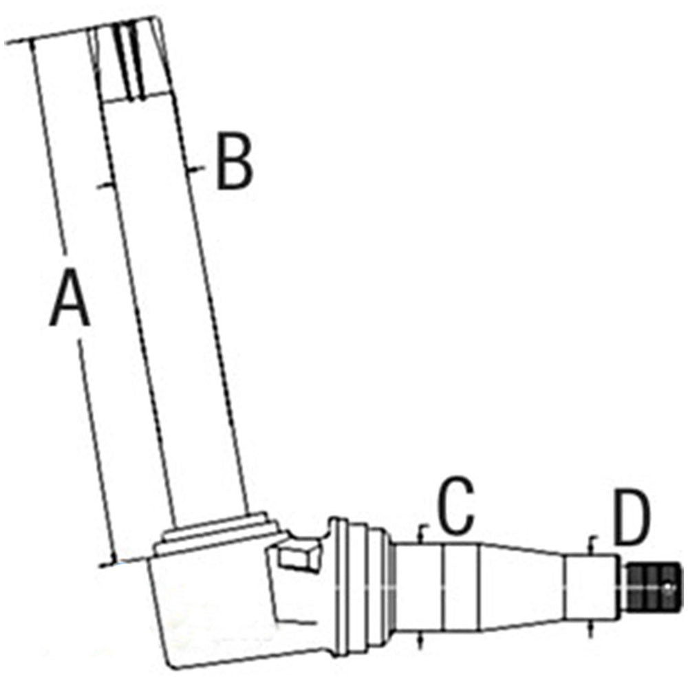
Dim A (1) A - 10.375"
Dim B (2) B - 1.499"
Dim C (3) C - 1.795"
Dim D (4) D - 1.312"
Replaces Part Number AT39457.
NC
Models This Part Fits:
1520, 2030, 300, 400Reference Numbers:
AT39457, AT39457-AProduct Group:
Front Axle/Steering PartsView More: Front Axle/Steering Parts Replacement Parts



