1
/
of
5
3125872R91 New Spindle Fits Case-IH Tractor Models C90 84 684 685 695 +
3125872R91 New Spindle Fits Case-IH Tractor Models C90 84 684 685 695 +
No reviews
Regular price
$310.00 CAD
Regular price
Sale price
$310.00 CAD
Unit price
/
per
Shipping calculated at checkout.
Couldn't load pickup availability
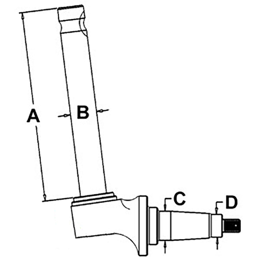
One New Aftermarket Replacement Spindle that Fits Case IH Tractor Models C90 (WITH 244MM), 84 (HYDRO), 684, 685, 685XL, 695, 784, 884, 885, 885XL, 895, 895XL.
Dim A (1) A - 9.500"
Dim B (2) B - 1.667"
Dim C (3) C - 1.780"
Dim D (4) D - 1.375"
Replaces Part Number 3125872R91.
Models This Part Fits:
885XL, 684, 574, 785, 585, HYDRO 84, 895, CX100, CX70, 4230, 685, 4240, 4210, 895XL, 595, 784, 884, CX90, CX80, 885, 995, 685XLReference Numbers:
3125872R91, 3125872R91-AProduct Category:
AgricultureView More: Agriculture Replacement Parts
Product Group:
Front Axle/Steering PartsView More: Front Axle/Steering Parts Replacement Parts



