1
/
of
10
897414M91 Spindle - RH Fits Massey Ferguson MF Tractor TO20 TO30 TO35
897414M91 Spindle - RH Fits Massey Ferguson MF Tractor TO20 TO30 TO35
No reviews
Regular price
$155.00 CAD
Regular price
Sale price
$155.00 CAD
Unit price
/
per
Shipping calculated at checkout.
Couldn't load pickup availability
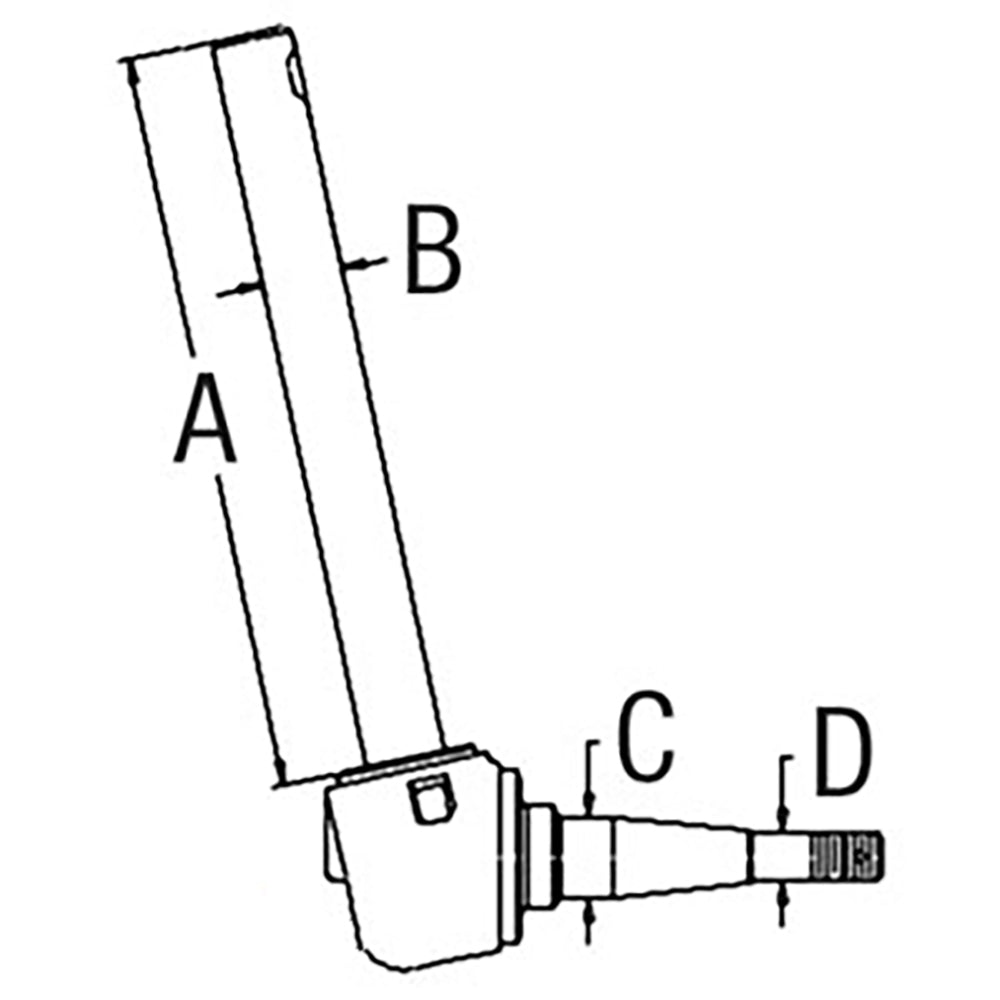
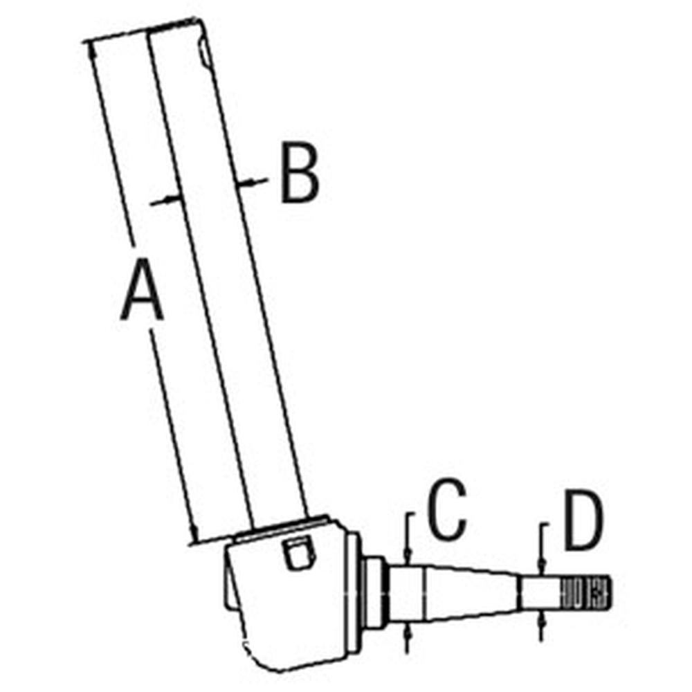
One New Aftermarket Replacement Right Hand Spindle Fits Massey Ferguson Tractor Models: TO20, TO30, TO35
Tech Info:
Right Hand
Dim A (1) A - 11.000"
Dim B (2) B - 1.250"
Dim C (3) C - 1.250"
Dim D (4) D - .750"
Replaces Part Numbers: 180346M1, 180346M92, VPJ1005, VPJ1055, 180346M1, 180346V92, 897410M91, 897414M91, 897414M91HD
Models This Part Fits:
TO30, FE35, TEA20, 35, TEF20, 35X, TED20, TO35, TO20, TE20Additional Information:
A - 11.000" B - 1.250" C - 1.250" D - .750"Reference Numbers:
A-VPJ1005, A-VPJ1055, 897414M91, 180346M92, HD180346M92, 897414M91, 180346V92, 893414M91, VPJ1005, 180346M1, 897410M91, 897414M91HD, 897414M1Product Category:
AgricultureView More: Agriculture Replacement Parts
Product Group:
Front Axle/Steering PartsView More: Front Axle/Steering Parts Replacement Parts



